Продукция
Новости
Каталоги сборочных единиц
Контакты
Наши дилеры
📞 Отдел сбыта +7 (8412) 45-81-59
/
📞 Бесплатные звонки с территории России 8 (800) 222-54-08
/
✉ Email: bsm@sura.ru
Продукция
Новости
Лизинг
Каталоги сборочных единиц
Доставка
Наши дилеры
Вакансии
Контакты
Заказать online
Главная
/
Сервисы
/
Каталог сборочных единиц
Каталоги сборочных единиц
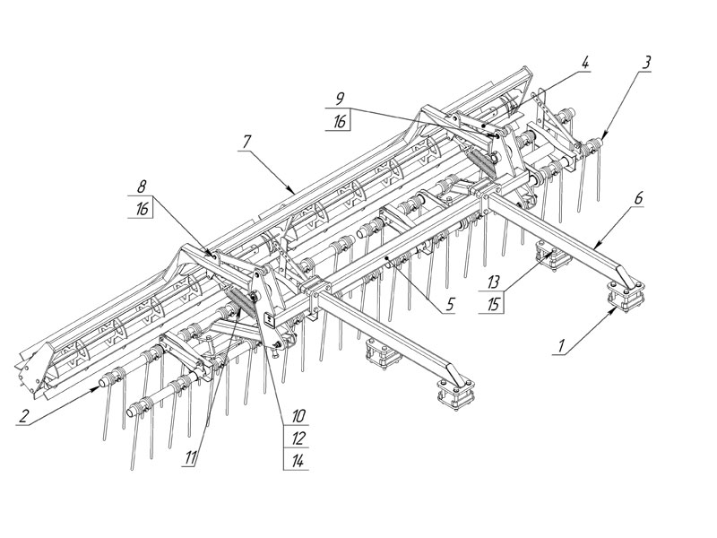
Батарея катков ПШКК 12.140-02
1
2
3
4
5
6
7
8
9
10
11
12
13
14
15
16
Сборочные единицы и детали:
Кронштейн 12.00.190-01
/
Борона ПШКК 12.190
/
Борона 73.00.2600
/
Тяга с втулкой 12.00.400
/
Кронштейн катка ПШКК 12.150-01
/
Тяга ПШКК 12.210
/
Каток прикатывающий ПШКК 12.160
/
Ось 12.00.606
/
Ось 12.00.606-01
/
Ось 73.00.622
/
Пружина СУС 00.6084
/
Болт М10-6gх80.88.019 DIN 933 (ДСТУ ГОСТ 7798:2008)
/
Болт М16-6gх140.88.019 DIN 931 (ДСТУ ГОСТ 7798:2008)
/
Гайка М10-6H.8.019 DIN 980 (ДСТУ ISO 7042:2009)
/
Гайка М16-6H.8.019 DIN 980 (ДСТУ ISO 7042:2009)
/
Кольцо 20х1,2 DIN 471 (ДСТУ ГОСТ 13942:2008)
Сборочные единицы и детали:
1 | Кронштейн 12.00.190-01
2 | Борона ПШКК 12.190
3 | Борона 73.00.2600
4 | Тяга с втулкой 12.00.400
5 | Кронштейн катка ПШКК 12.150-01
6 | Тяга ПШКК 12.210
7 | Каток прикатывающий ПШКК 12.160
8 | Ось 12.00.606
9 | Ось 12.00.606-01
10 | Ось 73.00.622
11 | Пружина СУС 00.6084
12 | Болт М10-6gх80.88.019 DIN 933 (ДСТУ ГОСТ 7798:2008)
13 | Болт М16-6gх140.88.019 DIN 931 (ДСТУ ГОСТ 7798:2008)
14 | Гайка М10-6H.8.019 DIN 980 (ДСТУ ISO 7042:2009)
15 | Гайка М16-6H.8.019 DIN 980 (ДСТУ ISO 7042:2009)
16 | Кольцо 20х1,2 DIN 471 (ДСТУ ГОСТ 13942:2008)
Возврат к списку
Copyright © 2004-2022 Белинсксельмаш All rights reserved.
Напишите нам
Спасибо! Ваша заявка принята.
Отправить
Вход
Забыли пароль
Регистрация
Войти
Регистрация
Войти
Я согласен с
Политикой конфиденциальности