Бесплатные звонки с территории России 8 (800) 222-54-08
Продукция
Новости
Каталоги
Контакты
Наши дилеры
Лизинг
Доставка
Вакансии
Модернизация
Продукция
Новости
Наши дилеры
Лизинг
Новинки
Доставка
Каталоги
Вакансии
Контакты
Модернизация
Заказать онлайн
Отдел сбыта: +7 (8412) 45-81-59 e-mail:
bsm@sura.ru
Главная
/
Сервисы
/
Каталог сборочных единиц
Каталоги сборочных единиц
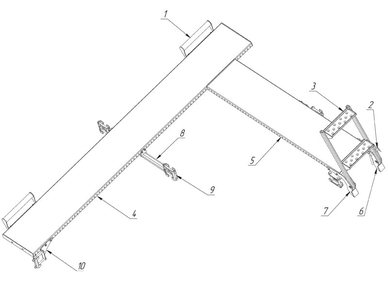
Подножная доска ПШКК 12.060
1
2
3
4
5
6
7
8
9
10
Сборочные единицы и детали:
1 | Ручка ПШКК 00.390
2 | Фиксатор 509.046.6650
3 | Лестница ПШКК 00.180
Возврат к списку
Copyright © 2004-2022 Белинсксельмаш All rights reserved.
Напишите нам
Ваше имя
Код PHP
*" required>
Ваш телефон
Код PHP
*" required>
<img title="Код PHP: <?=GetMessage("our_comment")?>" id="bxid413578973" class="bxhtmled-surrogate-dd" src="/bitrix/images/1.gif"/><span class="bxhtmled-surrogate-inner"><span class="bxhtmled-right-side-item-icon"></span><span class="bxhtmled-comp-lable" unselectable="on" spellcheck=false>Код PHP</span></span></span>">
Спасибо! Ваша заявка принята.
Отправить
Вход
Забыли пароль
Регистрация
Войти
Регистрация
Я согласен с
Политикой конфиденциальности
Регистрация