Продукция
Новости
Каталоги сборочных единиц
Контакты
Наши дилеры
📞 Отдел сбыта +7 (8412) 45-81-59
/
📞 Бесплатные звонки с территории России 8 (800) 222-54-08
/
✉ Email: bsm@sura.ru
Продукция
Новости
Лизинг
Каталоги сборочных единиц
Доставка
Наши дилеры
Вакансии
Контакты
Заказать online
Главная
/
Сервисы
/
Каталог сборочных единиц
Каталоги сборочных единиц
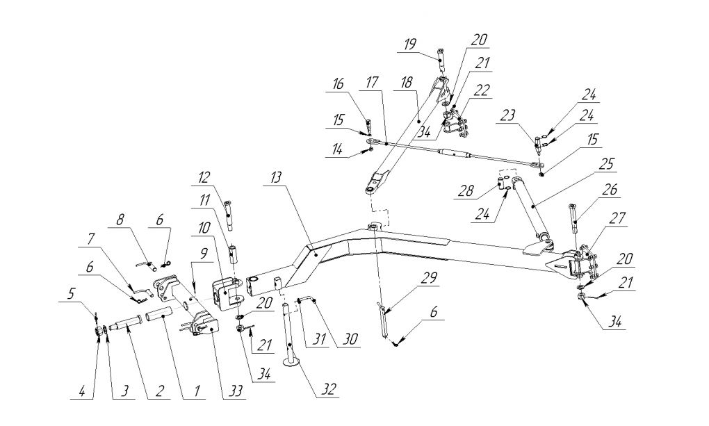
Прицепное устройство сеялки ALFA-4
1
2
3
4
5
6
7
8
9
10
11
12
13
14
15
16
17
18
19
20
21
22
23
24
25
26
27
28
29
30
31
32
33
34
Сборочные единицы и детали:
Втулка СЗМ 00.812-01
/
Ось СЗМ 00.617
/
Шайба СЗМ 00.4047-03
/
Гайка СЗМ 00.666
/
Шплинт 8х100.019 ГОСТ 397-79
/
Шплинт игольчатый 5
/
Палец СЗМ 00.920
/
Палец СЗМ 00.920-01
/
Масленка 1.2.Ц6хр с желтым колпачком ГОСТ 19853-74
/
Скоба СЗМ 00.180
/
Втулка СЗМ 00.812
/
Винт СЗМ 00.980
/
Сница СЗМ 01.090
/
Гайка М20-6H.8.019 DIN 980 (ДСТУ ISO 7042:2009)
/
Кольцо стопорное 28х1,5 DIN 471
/
Ось СЗМ 00.621
/
Стяжка СЗМ 01.110
/
Сница СЗМ 01.100
/
Винт СЗМ 00.980-02
/
Шайба СЗМ 00.4047-02
/
Шплинт 6,3х80.019 ГОСТ 397-79
/
Шарнир СЗМ 00.170-01
/
Ось СЗМ 00.611
/
Кольцо 40х1,75 DIN 471 (ДСТУ ГОСТ 13942:2008)
/
Гидроцилиндр МС 80/50х900-4.11 (1265) ТУ У 29.3.35432630-002:2010
/
Винт СЗМ 00.980-01
/
Шарнир СЗМ 00.170
/
Ось СЗМ 00.619
/
Палец СЗМ 00.210
/
Штырь СМЕ 20.602-01
/
Штифт с чекой 4,5х32.019 DIN11023
/
Стойка СЗМ 00.250
/
Поперечина СЗМ 00.190
/
Гайка М36-6Н.6.019 DIN 935 (ДСТУ ГОСТ 5918:2008)
Сборочные единицы и детали:
1 | Втулка СЗМ 00.812-01
2 | Ось СЗМ 00.617
3 | Шайба СЗМ 00.4047-03
4 | Гайка СЗМ 00.666
5 | Шплинт 8х100.019 ГОСТ 397-79
6 | Шплинт игольчатый 5
7 | Палец СЗМ 00.920
8 | Палец СЗМ 00.920-01
9 | Масленка 1.2.Ц6хр с желтым колпачком ГОСТ 19853-74
10 | Скоба СЗМ 00.180
11 | Втулка СЗМ 00.812
12 | Винт СЗМ 00.980
13 | Сница СЗМ 01.090
14 | Гайка М20-6H.8.019 DIN 980 (ДСТУ ISO 7042:2009)
15 | Кольцо стопорное 28х1,5 DIN 471
16 | Ось СЗМ 00.621
17 | Стяжка СЗМ 01.110
18 | Сница СЗМ 01.100
19 | Винт СЗМ 00.980-02
20 | Шайба СЗМ 00.4047-02
21 | Шплинт 6,3х80.019 ГОСТ 397-79
22 | Шарнир СЗМ 00.170-01
23 | Ось СЗМ 00.611
24 | Кольцо 40х1,75 DIN 471 (ДСТУ ГОСТ 13942:2008)
25 | Гидроцилиндр МС 80/50х900-4.11 (1265) ТУ У 29.3.35432630-002:2010
26 | Винт СЗМ 00.980-01
27 | Шарнир СЗМ 00.170
28 | Ось СЗМ 00.619
29 | Палец СЗМ 00.210
30 | Штырь СМЕ 20.602-01
31 | Штифт с чекой 4,5х32.019 DIN11023
32 | Стойка СЗМ 00.250
33 | Поперечина СЗМ 00.190
34 | Гайка М36-6Н.6.019 DIN 935 (ДСТУ ГОСТ 5918:2008)
Возврат к списку
Copyright © 2004-2022 Белинсксельмаш All rights reserved.
Напишите нам
Спасибо! Ваша заявка принята.
Отправить
Вход
Забыли пароль
Регистрация
Войти
Регистрация
Войти
Я согласен с
Политикой конфиденциальности