Продукция
Новости
Каталоги сборочных единиц
Контакты
Наши дилеры
📞 Отдел сбыта +7 (8412) 45-81-59
/
📞 Бесплатные звонки с территории России 8 (800) 222-54-08
/
✉ Email: bsm@sura.ru
Продукция
Новости
Лизинг
Каталоги сборочных единиц
Доставка
Наши дилеры
Вакансии
Контакты
Заказать online
Главная
/
Сервисы
/
Каталог сборочных единиц
Каталоги сборочных единиц
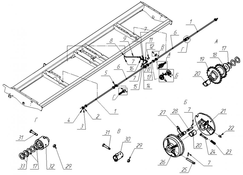
Валы контрпривода сеялки ALFA-4
1
2
3
4
5
6
7
8
9
10
11
12
13
14
15
16
17
18
19
20
21
22
23
24
25
26
27
28
29
30
31
32
33
Сборочные единицы и детали:
Вал СЗМ 01.601
/
Гайка М6-6H.8.019 DIN 980 (ДСТУ ГОСТ 7042:2009)
/
Опора ОЗШ 01.280
/
Болт М6-6gх20.88.019 DIN 933 (ДСТУ ГОСТ 7798:2008)
/
Штифт А.5х40.60С2 DIN 1481 (ГОСТ 14229-93)
/
Вал СЗМ 01.602
/
Шплинт 3,2х20.019 ГОСТ 397-79
/
Шайба С.8.01.10.019 ГОСТ 11371-78
/
Тяга СЗМ 00.120А
/
Пружина 552.6.030
/
Рычаг СЗМ 00.140
/
Втулка СЗМ 00.801
/
Вал СЗМ 01.602-01
/
Вал СЗМ 00.606
/
Штырь С 4.602-03
/
Штырь С 4.601
/
Шайба С 80.410-02
/
Шайба ОЗШ 01.448
/
Блок СЗГ 00.3390
/
Втулка СЗГ 00.001
/
Диск разобщителя СЗГ 00.126А
/
Масленка 1.2.Ц6хр с желтым колпачком ГОСТ 19853-74
/
Пружина Н 126.01.608
/
Ось СЗГ 00.632
/
Штырь С 4.602-01
/
Диск СЗГ 00.125
/
Защелка СЗГ 00.600
/
Штырь С 4.602
/
Гайка М10-6H.8.019 DIN 980 (ДСТУ ISO 7042:2009)
/
Втулка ОЗШ 02.815
/
Болт М10-6gх50.88.019 ДСТУ ГОСТ 7798:2008
/
Муфта обгонная СЗМ 00.100А
/
Шайба С.24.01.10.019 ГОСТ 11371-78
Сборочные единицы и детали:
1 | Вал СЗМ 01.601
2 | Гайка М6-6H.8.019 DIN 980 (ДСТУ ГОСТ 7042:2009)
3 | Опора ОЗШ 01.280
4 | Болт М6-6gх20.88.019 DIN 933 (ДСТУ ГОСТ 7798:2008)
5 | Штифт А.5х40.60С2 DIN 1481 (ГОСТ 14229-93)
6 | Вал СЗМ 01.602
7 | Шплинт 3,2х20.019 ГОСТ 397-79
8 | Шайба С.8.01.10.019 ГОСТ 11371-78
9 | Тяга СЗМ 00.120А
10 | Пружина 552.6.030
11 | Рычаг СЗМ 00.140
12 | Втулка СЗМ 00.801
13 | Вал СЗМ 01.602-01
14 | Вал СЗМ 00.606
15 | Штырь С 4.602-03
16 | Штырь С 4.601
17 | Шайба С 80.410-02
18 | Шайба ОЗШ 01.448
19 | Блок СЗГ 00.3390
20 | Втулка СЗГ 00.001
21 | Диск разобщителя СЗГ 00.126А
22 | Масленка 1.2.Ц6хр с желтым колпачком ГОСТ 19853-74
23 | Пружина Н 126.01.608
24 | Ось СЗГ 00.632
25 | Штырь С 4.602-01
26 | Диск СЗГ 00.125
27 | Защелка СЗГ 00.600
28 | Штырь С 4.602
29 | Гайка М10-6H.8.019 DIN 980 (ДСТУ ISO 7042:2009)
30 | Втулка ОЗШ 02.815
31 | Болт М10-6gх50.88.019 ДСТУ ГОСТ 7798:2008
32 | Муфта обгонная СЗМ 00.100А
33 | Шайба С.24.01.10.019 ГОСТ 11371-78
Возврат к списку
Copyright © 2004-2022 Белинсксельмаш All rights reserved.
Напишите нам
Спасибо! Ваша заявка принята.
Отправить
Вход
Забыли пароль
Регистрация
Войти
Регистрация
Войти
Я согласен с
Политикой конфиденциальности